Mappers on Famicom, NES, Dandy: where did they come from and why are they needed (part 1/2)
About once a decade, on Russian-language computer resources, someone raises the topic of such an element of the architecture of 8-bit Dandy and its progenitors as a “mapper,” trying to explain in detail what it is. And every time I get the feeling that the narrators themselves ar
Editor's Context
This article is an English adaptation with additional editorial framing for an international audience.
- Terminology and structure were localized for clarity.
- Examples were rewritten for practical readability.
- Technical claims were preserved with source attribution.
Source: original publication
Series Navigation
- Mappers on Famicom, NES, Dandy: where did they come from and why are they needed (part 1/2) (Current)
- Mappers on Famicom, NES, Dandy: where did they come from and why are they needed (part 2/2)

About once a decade, on Russian-language computer resources, someone raises the topic of such an element of the architecture of 8-bit Dandy and its progenitors as a “mapper,” trying to explain in detail what it is. And every time I get the feeling that the narrators themselves are not entirely familiar with the plot. In addition, almost always we are talking about purely technical issues, without at all touching on the history of the issue: where it came from, how it developed, how it was useful for actual games - which, in my opinion, may be of interest to a much wider circle of people.
It so happened that I have quite a deep, almost elbow-deep, practical experience of interacting with these very “mappers”, I can also tell you something about their history, and, of course, I have confidence that I definitely understand everything as it is, and I will tell it in such a way that everyone will shudder. Therefore, below the cut is everything you ever wanted or didn’t want to ask about mappers, but were afraid or didn’t even intend to ask.
▍ Life before mappers
In 1983, the 8-bit Nintendo Famicom gaming system entered the Japanese market. Later it became known in different parts of the world under many names, including Nintendo Entertainment System in the USA and Dandy in the CIS countries. Although for many it symbolizes the very beginning of the video game era, in fact it was a true next-gen of its time: two generations of gaming systems preceded its appearance.
The leaders of the previous generation were the Atari 2600 (1977), Intellivision (1979) and ColecoVision (1982), which sold millions of copies. In it, game publishers have already regularly tried to transfer the most advanced games from arcades to home consoles. But slot machines were much more powerful, and such adaptations were only conditionally similar to the original games.

Nintendo, which already had successful experience in developing slot machines, home video games (Pong format), and interactive electronic toys (Game & Watch), set an ambitious task for its engineers: to bring high-definition graphics with a quality as close as possible to arcade-quality into the homes of players. In particular, the new system had to adequately reproduce Nintendo's 1981 hit, Donkey Kong. This task was indeed accomplished.

Like the previous generation of game consoles, the Famicom used the concept of cartridges - easily replaceable external cassette media with game programs, technically implemented in the form of a printed circuit board with ROM chips, which ensured almost instantaneous launch of games. But the implementation had significant differences from its predecessors, unique to this platform.
Cartridges of previous systems did not have a very large number of contacts - 24 for the Atari 2600, 40 for ColecoVision. The Famicom cartridge has as many as 60 pins (and even 72 for the NES), to which a significant part of the signals from various components of the architecture are output - the address and data buses of the processor and video controller, which on the Famicom are completely independent of each other, as well as some other signals, in particular, allowing you to manipulate the display of graphics. But the main thing that probably had a positive impact on the future fate of the platform is that despite the use of ROM, the cartridge connector also contains write signals to each type of memory.

The reasons for this technical solution, of course, are not reliably known. It is likely related to Nintendo's original plans to create a more complex device, almost a computer, with a keyboard and a disk drive. These plans were abandoned during the development process in favor of a more budget-friendly, and therefore mass-produced product. One way or another, this decision made it possible to optimally configure the system for specific games, and also provided the potential for expanding capabilities in the future.
The optimal configuration was the ability to use smaller ROMs for simpler games - for example, Galaxian (1984) from Namco has only 8 kilobytes of ROM code, while Pac-Man (1984) and the beloved Battle City (1985) each have 16 kilobytes.

The potential for expansion soon came in handy with the expansion Family Basic (1984), which began to implement Nintendo's previously rejected plans. A joint development with Hudson Soft and Sharp turned the Famicom into a simple personal computer. The kit consisted of an external keyboard, an optional red tape recorder from Panasonic, and a cartridge with a BASIC interpreter. The cartridge also contained additional battery-powered RAM for storing programs - thus the concept of built-in saves in cartridge games was born, which lasted on cartridge platforms until the early 2000s.

The full potential of such an open architecture was revealed later, towards the end of the 1980s. Due to the emergence and widespread use of the notorious mappers on the same hardware, it was possible to implement significantly more advanced games than the single-screen arcade games that it was created to domesticate. This allowed the platform's active commercial life on the market to stretch for as much as ten years - from its launch in 1983 in Japan and 1985 in the United States until 1995 in Europe, when the Lion King game was released, the last one officially licensed by Nintendo.
▍ Why are mappers needed?
In the first years of the life of the Famicom and even its American version, the NES, which was released a little later, games fit into the architectural limit - 32 kilobytes for code and 8 kilobytes for graphics. During this time, arcade slot machines, which were then the cutting edge of progress, only reinforced the trend towards complicating the content of games. More graphics, more levels, more varied gameplay. In a nutshell - “bigger, better”.

The quantitative and qualitative growth of content took shape already in the early 1980s. Nintendo itself made the transition from the first single-screen games like Breakout (1976), Space Invaders (1978) and Pac-Man (1980) to multi-screen games like Donkey Kong (1981) and Popeye (1982), which already had several quite different locations. And in 1985, it made the next qualitative transition, which determined the face of home video games for another ten years.

Super Mario Bros introduced the world to a new platforming concept with fluid movement across levels that couldn't fit on one screen. It consisted of 8 worlds of 4 levels each, had a very diverse and very dynamic gameplay, full-fledged musical accompaniment, and good, although rather monotonous, graphics. Thus, the limit of the Famicom's capabilities within the available memory was reached. To continue raising the bar, it was necessary to increase the amount of data stored on external media.

Why couldn’t you just go and install more memory in the cartridge? The fact is that initially such volumes were simply not provided for in the system architecture. After all, it was conceived during the formative years of the gaming industry, when the future of home video games was rather vague and there was no idea what they should become in a few years, nor how long gaming devices could exist on the market before they were replaced by the next generation.
Thus, to put it as simply as possible, a mapper is a thing that allows you to put more memory into a cartridge. More memory means more graphics, animation, music, levels, and other content in the game, and ultimately a more diverse, more beautiful, better and more interesting game. Or, a little more complicated: a mapper is a device located inside each cartridge that allows you to manage memory that is larger than originally intended.

However, the further plot develops not as simply as one might think. No, Nintendo didn’t go and create the notorious mapper for their new gaming hits, and everyone lived happily ever after until 16 bit came and drove everyone away. In fact, Nintendo was betting on a completely different device that had nothing to do with cartridges.
▍ Discs are spinning
A few years ago, Masayuki Uemura, who headed Famicom development in the early 1980s, told, that one of the reasons why the MOS 6502 processor was chosen was that it was little known in Japan - it was not produced in the country and was not used in local developments. Nintendo hoped that other companies would have difficulty learning the new system and would not be able to compete quickly. This episode lays the foundation for Nintendo's attitude toward third-party game developers for its platforms as unwelcome guests, which persisted for many years, and makes it clear that subsequent events were quite natural.
The company’s hopes were indeed justified for some time - during the first year of the platform’s life. The first games from Hudson Soft had just come out, the cartridges for which were produced by Nintendo itself, and already at the end of 1984, Namco - at that time a third-party developer that did not have a partnership agreement with Nintendo - figured out the technology and released its games on cartridges of its own production. Soon everyone joined in: Bandai, Irem, Jaleco, Konami, Sunsoft, Taito, etc.

The solution to this problem in the eyes of Nintendo was to return to the original concept: a plan arose to create a disk drive for the Famicom and release games on non-standard three-inch (exactly, not three and a half!) flexible magnetic disks, which would be much more difficult for third parties to produce. This way, Nintendo could maintain full control over its own platform, and at the same time reduce the cost of producing copies of games. This also opened up opportunities for alternative marketing strategies, such as selling blank discs and recording selected games on them in special machines.

The plan became a reality in February 1986 - the Famicom Disk System (FDS) device entered the market. In addition to working with floppy disks, which store 112 kilobytes of data and at the same time allow for in-game saves, it expanded other capabilities of the console. In particular, another single-channel, but more advanced sound synthesizer was added. In connection with the advent of the FDS, from the fall of 1985 to the fall of 1987, Nintendo's games in Japan were released exclusively on floppy disks, and many then-born and now famous game series, such as the Legend of Zelda, Metroid, Kid Icarus, and even Castlevania, first saw the light of day on the FDS.

As history has shown, the decision to change the medium, although successful in the coming years, turned out to be not particularly successful in the long term. Not even to mention the reliability and convenience, which leave much to be desired - the floppy disks had to be constantly turned over by hand! — it severely limited the volume of games, which continued to grow. It's funny, but years later Nintendo returned to the same rake again, first choosing cartridges instead of CDs for its Ultra 64 in 1996, and then trying to make a 64DD magneto-optical drive for it. However, this is a completely different story.
▍ Birth of mappers
Meanwhile, third-party developers who remained within the framework of cartridge technology were forced to go their own way, and in 1985 the first two games appeared that used a simple mapper to increase the maximum amount of graphics ROM - City Connection from Jaleco and Hyper Olympic Gentaiban! from Konami.

There are discrepancies on the Internet about the primacy, but one way or another, both games are ports of the corresponding arcade games, they are completely developed and produced by third-party developers, and use the same mapper device. This solution, preserving software compatibility but improving the hardware implementation, was soon adopted by other companies. In the spring of 1986, the first mapper appeared in the form of a custom chip rather than standard discrete logic, and again it was developed by a third-party company, Sunsoft, for its game Atlantis no Nazo.

That same spring, Nintendo itself created an analogue of the City Connection mapper. Subsequently, this trend continued. A large number of different mappers with new, increasingly advanced capabilities were developed for their games by third-party companies, after which slightly improved analogues of some of them appeared from Nintendo.

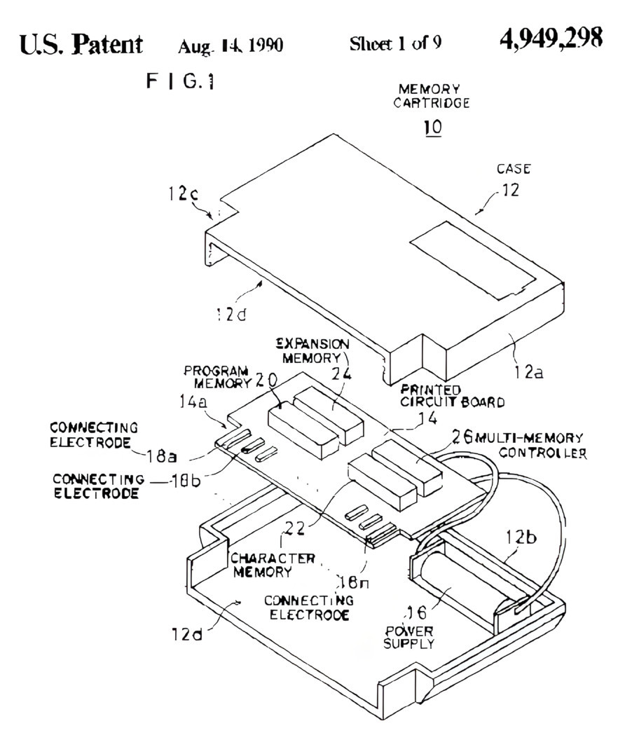
Almost all technical solutions used by Nintendo in its platforms were patented by it in Japan and the USA. This also applies to the features of the NES device, including mappers. Thus, US Patent 4,926,372 dated May 6, 1986 describes the UNROM mapper, and US Patent 4,949,298 dated November 19, 1986 describes an early version of MMC1, somewhat simplified in practical implementation. The patents had already expired, but in those days their presence on the one hand, and the lack of solutions from Nintendo on the other, plus intense competition among themselves, prevented third-party developers from simply using ready-made solutions and forced them to constantly reinvent their wheels.
The Japanese period of the Famicom's life shows that initially mapper technology, as well as the entire video game market for the platform, developed spontaneously and was in no way controlled or standardized by Nintendo, whose development strategy did not involve the emergence of other, independent players in its field, or even continued support for the cartridge format.
▍ Licensed by Nintendo
Entering the Western video game market, which had not yet recovered from the crash of 1983-1985, in order to achieve success in these difficult conditions, Nintendo decided to control its platform as tightly as possible.
In particular, each individual publisher, regardless of reputation and merit - even Atari, which practically built the video game industry itself - was allowed to release a maximum of five games per year. This later gave rise to several phantom companies (Ultra Games, Palcom, LJN after the transition to Acclaim), the purpose of which was solely to circumvent the restriction.

Games were required to remain platform exclusive for two years, and to release a game they had to go through a complex licensing process, receiving a bunch of Licensed by Nintendo labels in the game and on the packaging, complete with strict censorship of the games' content. Finished cartridges, along with all the chips in them, had to be purchased from Nintendo itself (actual production was carried out by contractors) at not the best prices and in quantities of at least 10,000 copies. A few companies, such as Rare, managed to introduce mappers of their own design, but they were still produced with the participation of Nintendo.
In this regard, some originally Japanese releases from third-party companies that used mappers of their own design (Konami, Sunsoft, Namco, Taito and others) were reworked for Nintendo mappers when published in the United States.
For example, our beloved Contra was remade from VRC2 to UNROM, while the ROM size was cut in half and a significant part of the design was removed from the game. Castlevania 3 was remade from VRC6 to MMC5 and lost the improved soundtrack, and the capabilities of this new, expensive and very powerful mapper were left largely unused. In Hebereke (Uforia), the FME7 mapper was replaced with MMC3, and Power Blazer, along with the replacement of the exotic TC0190 mapper with MMC3, was redesigned so much that it was transformed into a completely different game - Power Blade.
The opposite stories also happened: the British game Dragon’s Lair, after the original release in the USA, was converted from the UNROM mapper to MMC3 for release in Europe and Japan. At the same time, the volume of game data has doubled, which, among other things, has significantly speeded up its operation and made it almost playable.

On the other hand, even after launching a strict licensing mechanism, Nintendo did not change its attitude towards third-party companies. According to the testimony of some Western developers, they had no official documentation, much less development kits. At best, they had photocopies of Japanese documentation obtained in a roundabout way, and for the most part they studied the platform through experimentation and analysis of existing games, compiling their own documentation and making their own development tools.
Not all publishers and developers were happy with this state of affairs. Some - Tengen, Color Dreams, Sachen and others - chose to work semi-underground. This was not easy, since the American and European versions of the console included a regional security chip that had to be installed in each cartridge, and it could only be obtained from Nintendo. But over time, various ways to bypass this protection were found (including very interesting incident with the US Copyright Office), and unlicensed developers joined their Japanese colleagues in creating more and more mappers, both their own and copies of the “official” ones.
The consequences of Nintendo's policies were reflected throughout the video game industry, and for a very long time, entering the console gaming market remained much less accessible for small companies compared to home computers. Only in the mid-2010s did the situation begin to change for the better.

Towards the decline of the platform’s popularity in the US and Europe, pirates took up the baton. By crossing a hedgehog and a snake, collecting “multi-mapper” games into collections, pirated both original games and those previously copied by colleagues, and later developing their own, they produced a considerable number of mappers, starting with fairly accurate copies of the official ones and ending with completely exotic original developments. The story continues to this day, and every year FCUEX adds support for new mappers discovered in pirated products.
▍ Mappers for the people
Foreign players became acquainted with the concept of mappers even during the active commercial life of the platform, through the gaming press, which published information about the design of cartridges and the positive impact of these devices on the quality of games - marketing at that time often tried to use real technical terms as fashionable selling words.

However, the term “mapper” does not appear in these publications. The press has seen the designation MMC with the decoding “Memory Management Controller” - but this is probably just an improvisation by journalists based on the designation they saw on boards and chips of cartridges. Nintendo's patents used the more standard technical term "bank switching", and also included the phrase "multi-memory controller", from which the designation MMC apparently came. In the surviving private documentation of the Color Dreams company, dated 1989-1990, their own mapper is simply called “page select”. Official Nintendo documentation in English apparently never existed, and, accordingly, there was no official term.
Nowadays, the name “mapper” is used everywhere, and despite its foreign sound, there is a possibility that it is of domestic origin.
Information about mappers entered the domestic information space during the era of the first Famicom/NES/Dandy software emulators, which appeared in the second half of the 1990s. At that time, it had quite practical significance, because emulators supported only a limited number of mappers, which means they launched only a part of existing games. The idea of mappers for non-technical users at that time boiled down to the fact that it was a kind of microcircuit inside a cartridge, and the better it was, the cooler the games. This made it possible to draw analogies with other items of computer equipment that have similar properties - a better processor, a better video card, more memory. The last analogy, by the way, is quite close to the true essence of things.
Now it is difficult to say which Famicom/NES emulator appeared first, but the most likely candidate for this role is the Japanese emulator Pasofami, developed by Nobuaki Andou since the first half of the 1990s, first for the Japanese computer FM Towns, and in 1995-1996 for PC with Windows. In those days, cartridge images were two separate files - code ROM dumps and graphics ROM dumps, so running games required separate information about the mapper being used. In the documentation for Pasofami it was simply called Program Type, of which only six were supported at that time.
All information related to Pasofami was only available in Japanese, making it very difficult to use for Western audiences. However, its appearance gave impetus to the development of the first Western emulators. Two of them were developed by our compatriots, Marat Faizullin and Alex Krasivsky. A short period of their collaboration led to the appearance in 1996 of the interNES emulator, later known as iNES, and with it the file format of the same name with the .nes extension. In it, dumps of all ROMs of the cartridge are combined into one file and equipped with a 16-byte header, where, among other parameters, the type of mapper used by the game is indicated. This format, which has become an unspoken standard, is still the main one and is supported by all emulators. Since 1996, the word “mapper” began to appear in descriptions of the NES device, including in the description of the iNES title and other documentation authored by Faizullin - for example, in the text Nintendo Entertainment System Architecture, from which many other emulator authors started.
Thus, it can be assumed that the term “mapper”, which is widely used in our time, was introduced into use by the authors of emulators in the mid-1990s, and at least popularized, and perhaps even proposed by Marat Faizullin.
With the advent of the iNES format, mappers received numbers and names so that they could somehow be distinguished. This happened spontaneously, as new games, boards and microcircuits were discovered, so there is no special system in numbering. Some mappers have their own names, chosen by the emulator developer community depending on the situation: by the marking of ASICs on the board, by the designation on the board, by the name of the development company, or other reasons.
Nintendo cartridge boards could have different configurations with the same mapper, but differing in the volume of memory chips and the features of their switching, and they had their own designations. For example, the MMC3 mapper is used in a family of two dozen boards - TLROM, TKROM, TNROM and many others, collectively known as TxROM. Some of these configurations were assigned number 4 in iNES, and some were assigned other numbers, such as 118 and 119.
▍ How it works
The Famicom CPU can only directly access a certain number of memory addresses. It is determined by the number of address bus lines, of which there are 16 - this gives 65536 possible combinations. However, some of them are used for internal system resources: for accessing the built-in RAM, control registers of the video controller and sound synthesizer. This was not done particularly optimally, and therefore, despite the small amount of RAM and the number of registers, a whole half of the address space was allocated to them - this was simpler and cheaper in those days. The second half, accordingly, is given over to ROM, which is located on the board of a replaceable game cartridge and contains the game code. Thus, the maximum size of this ROM is 32 kilobytes.
The situation is similar with the video controller, which has its own address space, completely independent of the central processor, which only it can access. The video controller has only 14 lanes on the address bus, which gives 16,384 possible addresses, and only half of this space is used to access the game graphics ROM, which can be up to 8 kilobytes.

The distribution of addresses in the address space according to their purpose is called a memory map - as you might guess, in English it is called a memory map. Somewhere in this card there is RAM, somewhere there are device registers, somewhere there is ROM with code. Mapper, that is, mapper - from the word map - a device that controls the configuration of this card. Technically, this control is implemented by simple switching of “extra” bits of the ROM address bus, and in the simplest case it is a latch register, the outputs of which are connected to additional ROM address lines.
Writing to the mapper register instantly connects the selected fragment (“bank” or “page”) of the ROM to a certain area of the address space (the so-called “window” or “slot”). In the modern world, incorrect analogies with loading or swapping are often encountered. The mapper is not a processor, not a disk drive, and not a swap file - it does not copy or load anything anywhere. New data appears in the address space immediately when control bits are written to the mapper register, and the speed of access to this data is exactly the same as to a regular-sized ROM.
Depending on the design, the mapper can switch not only code ROM fragments, but also graphics ROM. In this case, the video controller also begins to receive data from the new location immediately upon switching. Thus, you can change the displayed graphics directly as the scanning beam passes across the screen - either the whole thing, or only a certain part of it. This allows you to display more graphic elements on the screen than is possible in the standard configuration, and also opens up the widest possibilities for “free” animation in terms of computing resources.
Due to its design, the mapper has the concept of granularity, namely, the size of the switched memory fragments. Since during switching only the higher address lines of the ROM are switched, and the lower ones remain unchanged, their number determines the granularity, which is a multiple of a power of two. Most often this is 16 or 8 kilobytes for code ROM, but for graphics ROM this is too much, because it itself has a maximum size of 8 kilobytes. Therefore, for switching graphics banks, granularities of 8, 4, 2 and even 1 kilobyte are typical. The smaller the size of the graphics bank, the more convenient it is.
In addition to its main task - the configuration of a memory card, which can be implemented in many ways - the mapper can provide additional functions. For example, a programmable timer that generates interrupts for the processor at a given frequency, additional code and data RAM with or without a battery, RAM for tile graphics or tile maps, some graphics enhancements, or even an entire additional sound synthesizer. Sound extensions, however, are only relevant for the Famicom, since their operation is not provided for on the NES.
▍ How to use
We figured out how to switch memory banks, but the question remained unanswered: why and when to do this.
As a rule, the most space in the code ROM in games is taken up by maps and other data for describing levels. Musical accompaniment takes a little less, a couple of kilobytes per track. The game code itself can take up quite a lot of space, a couple of tens of kilobytes. Accordingly, switching code banks may be necessary to access data: level maps, music tracks and sound effects. There may also be an additional code in the jars if it does not fit into one or two.
In the graphics ROM, in different banks there are sets of elements from which the visual design of levels or individual screens, as well as character sprites, are built. The bank for background graphics can be switched relatively rarely, and perhaps often - if you need to animate the entire background, as was done, for example, in the game Batman. For sprites, low granularity is very useful; you can switch a set of graphic elements for one character, for example a hero, and thus animate him.
▍ To be continued
Due to the large volume of material, I decided to split the article into two parts - historical and technical. In the continuation, we will consider the features of several main mappers and their impact on the content of games, programming difficulties, as well as the situation with mappers on other platforms.
Help your satellite fight space debris in our new game! ?

Why This Matters In Practice
Beyond the original publication, Mappers on Famicom, NES, Dandy: where did they come from and why are they needed (part 1/2) matters because teams need reusable decision patterns, not one-off anecdotes. About once a decade, on Russian-language computer resources, someone raises the topic of such an element of the architecture of 8-bit Dandy...
Operational Takeaways
- Separate core principles from context-specific details before implementation.
- Define measurable success criteria before adopting the approach.
- Validate assumptions on a small scope, then scale based on evidence.
Quick Applicability Checklist
- Can this be reproduced with your current team and constraints?
- Do you have observable signals to confirm improvement?
- What trade-off (speed, cost, complexity, risk) are you accepting?
FAQ
What is this article about in one sentence?
This article explains the core idea in practical terms and focuses on what you can apply in real work.
Who is this article for?
It is written for engineers, technical leaders, and curious readers who want a clear, implementation-focused explanation.
What should I read next?
Use the related articles below to continue with closely connected topics and concrete examples.